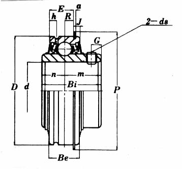
Insert Bearings



Click here to download spec chart in PDF format.