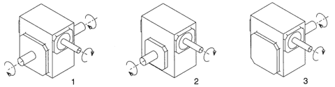
Single
Reduction
Worm Gear Reducers

Assemblies

Note: The input shaft may be rotated in either direction. Units are
for mounting as shown. Contact factory for other mountings or assembly
position options. Assembly positions also apply to motor flange units
("C" and "Q").

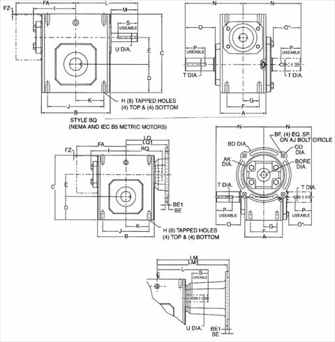
UNIT |
213 |
215 |
218 |
220 |
224 |
226 |
230 |
232 |
242 |
252 |
260 |
270 |
280 |
2100 |
A |
2.82 |
3.44 |
3.56 |
3.81 |
4.06 |
4.84 |
5.25 |
5.75 |
6.13 |
7.19 |
8.13 |
7.63 |
8.63 |
9.53 |
B |
3.80 |
4.88 |
5.06 |
5.80 |
6.12 |
7.12 |
8.12 |
8.50 |
10.25 |
13.00 |
14.25 |
14.88 |
17.00 |
20.88 |
C |
4.66 |
5.38 |
5.75 |
6.38 |
6.94 |
8.00 |
8.88 |
9.38 |
11.38 |
14.00 |
16.50 |
18.91 |
20.96 |
25.47 |
D |
1.72 |
1.91 |
2.06 |
2.28 |
2.50 |
2.94 |
3.25 |
3.50 |
4.44 |
5.12 |
6.50 |
7.59 |
8.86 |
10.36 |
E |
1.333 |
1.54 |
1.75 |
2.063 |
2.375 |
2.625 |
3 |
3.25 |
4.25 |
5.25 |
6 |
7 |
8 |
10 |
F |
2.00 |
2.75 |
2.75 |
3.00 |
2.88 |
3.38 |
4.00 |
4.00 |
5.00 |
5.81 |
6.38 |
5.50 |
6.50 |
6.88 |
FA |
N/A |
N/A |
N/A |
N/A |
N/A |
N/A |
N/A |
N/A |
N/A |
N/A |
11.13 |
11.37 |
12.52 |
14.69 |
FZ |
N/A |
N/A |
N/A |
N/A |
N/A |
N/A |
N/A |
N/A |
N/A |
N/A |
.33 |
.35 |
.57 |
.51 |
G |
1.00 |
1.38 |
1.38 |
1.50 |
1.44 |
1.69 |
2.00 |
2.00 |
2.50 |
2.91 |
3.19 |
2.75 |
3.25 |
3.44 |
H |
5/16 - 18 |
5/16 - 18 |
5/16 - 18 |
5/16 - 18 |
3/8 - 16 |
3/8 - 16 |
7/16 - 14 |
7/16 - 14 |
5/8 - 11 |
5/8 - 11 |
5/8 - 11 |
1 - 8 |
1 - 8 |
1 1/4 - 7 |
H Depth |
.50 |
.63 |
.63 |
.63 |
.56 |
.69 |
.88 |
.88 |
1.00 |
1.25 |
1.00 |
1.56 |
1.66 |
2.04 |
I |
2.61 |
3.14 |
3.24 |
3.61 |
3.77 |
4.34 |
4.84 |
5.02 |
6.10 |
7.50 |
N/A |
N/A |
N/A |
N/A |
J |
3.25 |
4.19 |
4.19 |
4.75 |
5.00 |
6.38 |
7.00 |
7.50 |
8.50 |
11 |
12.75 |
12.50 |
14.25 |
17.75 |
K |
1.63 |
2.09 |
2.09 |
2.38 |
2.50 |
3.19 |
3.50 |
3.75 |
4.25 |
5.50 |
6.38 |
6.25 |
7.13 |
8.88 |
L |
3.82 |
4.35 |
4.45 |
4.82 |
5.51 |
6.07 |
6.57 |
6.76 |
9.57 |
10.88 |
11.78 |
11.50 |
12.50 |
15.50 |
M |
1.76 |
1.76 |
1.76 |
1.76 |
2.38 |
2.38 |
2.38 |
2.38 |
3.47 |
3.38 |
3.41 |
2.97 |
2.84 |
3.76 |
N |
4.00 |
4.31 |
4.31 |
4.68 |
5.14 |
5.53 |
6.75 |
7.06 |
8.12 |
9.06 |
10.00 |
11.76 |
12.25 |
14.75 |
O |
2.16 |
2.11 |
2.05 |
2.29 |
2.66 |
2.73 |
3.60 |
3.66 |
4.50 |
4.78 |
4.65 |
5.65 |
5.98 |
6.76 |
O* |
1.94 |
1.90 |
1.84 |
2.08 |
2.44 |
2.52 |
3.36 |
3.42 |
4.21 |
4.53 |
4.65 |
5.65 |
5.98 |
6.76 |
P** |
3/16 x 1.50 |
3/16 x 1.50 |
3/16 x 1/38 |
1/4 x 1.44 |
1/4 x 1.75 |
1/4 x 2.00 |
1/4 x 2.25 |
3/8 x 2.62 |
1/2 x 3.06 |
1/2 x 3/50 |
5/8 x 4.00 |
5/8 x 4.00 |
3/4 x 4.50 |
7/8 x 5.00 |
S** |
1/8 x 1.44 |
3/16 x 1.50 |
3/16 x 1.50 |
3/16 x 1.50 |
3/16 x 1.75 |
3/16 x 1.75 |
3/16 x 1.75 |
3/16 x 1.75 |
1/4 x 2.88 |
1/4 x 3.00 |
3/8 x 3.00 |
3/8 x 2.87 |
1/2 x 2.81 |
1/2 x 3/69 |
T Dia. |
.625 |
.750 |
.875 |
1.000 |
1.125 |
1.250 |
1.250 |
1.500 |
1.875 |
2.000 |
2.500 |
2.750 |
3.000 |
3.750 |
U Dia. |
.500 |
.625 |
.625 |
.625 |
.750 |
.750 |
.875 |
.875 |
1.250 |
1.250 |
1.500 |
1.625 |
1.875 |
2.250 |
| NEMA Motor Flange Face Locations |
|
48C |
56C/140TC |
180TC |
210TC |
250TC |
UNIT |
LM |
RQ |
LQ |
LM |
RQ |
LQ |
LM1 |
RQ |
LQ1 |
LM1 |
RQ |
LQ1 |
LM1 |
RQ |
LQ1 |
213 |
5.63 |
3.09 |
3.46 |
6.07 |
3.09 |
3.46 |
N/A |
N/A |
N/A |
N/A |
N/A |
N/A |
N/A |
N/A |
N/A |
215 |
6.16 |
3.62 |
3.99 |
6.60 |
3.62 |
3.99 |
N/A |
N/A |
N/A |
N/A |
N/A |
N/A |
N/A |
N/A |
N/A |
218 |
6.26 |
3.59 |
4.09 |
6.70 |
3.59 |
4.09 |
N/A |
N/A |
N/A |
N/A |
N/A |
N/A |
N/A |
N/A |
N/A |
220 |
6.63 |
4.06 |
4.46 |
7.07 |
4.06 |
4.46 |
N/A |
N/A |
N/A |
N/A |
N/A |
N/A |
N/A |
N/A |
N/A |
224 |
N/A |
N/A |
N/A |
7.76 |
4.09 |
4.63 |
8.76 |
4.56 |
5.06 |
8.76 |
N/A |
N/A |
N/A |
N/A |
N/A |
226 |
N/A |
N/A |
N/A |
8.32 |
4.82 |
5.19 |
9.32 |
5.13 |
5.62 |
9.32 |
N/A |
N/A |
N/A |
N/A |
N/A |
230 |
N/A |
N/A |
N/A |
8.82 |
5.32 |
5.69 |
9.82 |
5.63 |
6.12 |
9.82 |
6.06 |
6.56 |
N/A |
N/A |
N/A |
232 |
N/A |
N/A |
N/A |
9.01 |
5.51 |
5.88 |
10.01 |
5.81 |
6.31 |
10.01 |
6.25 |
6.75 |
N/A |
N/A |
N/A |
242 |
N/A |
N/A |
N/A |
11.81 |
6.04 |
6.45 |
12.90 |
6.68 |
7.21 |
12.90 |
6.68 |
7.21 |
13.46 |
7.24 |
7.77 |
252 |
N/A |
N/A |
N/A |
13.21 |
7.35 |
7.85 |
14.30 |
7.98 |
8.61 |
14.30 |
7.98 |
8.61 |
14.86 |
8.54 |
9.17 |
260 |
N/A |
N/A |
N/A |
N/A |
10.01 |
10.45 |
15.88 |
8.69 |
9.33 |
15.88 |
8.69 |
9.33 |
16.50 |
8.69 |
9.94 |
270 |
N/A |
N/A |
N/A |
N/A |
N/A |
N/A |
15.50 |
N/A |
N/A |
15.50 |
N/A |
N/A |
15.50 |
N/A |
N/A |
280 |
N/A |
N/A |
N/A |
N/A |
N/A |
N/A |
N/A |
N/A |
N/A |
16.58 |
N/A |
N/A |
16.58 |
N/A |
N/A |
| NEMA Motor Mounting Dimensions |
Frame |
AJ |
AK |
BD |
OD |
BE |
BE1 |
BORE |
KWY.** |
BF |
48C |
3.75 |
3.00 |
3.88 |
4.36 |
.38 |
N/A |
.500 |
1/8 x 1/16 |
.28 |
56C |
5.88 |
4.50 |
5.88 |
6.64 |
.38 |
N/A |
.625 |
3/16 x 3/32 |
.41 |
140TC |
5.88 |
4.50 |
5.88 |
6.64 |
.38 |
N/A |
.875 |
3/16 x 3/32 |
.41 |
180TC |
7.25 |
8.50 |
9.00 |
N/A |
N/A |
.50 |
1.125 |
1/4 x 1/8 |
.53 |
210TC |
7.25 |
8.50 |
9.00 |
N/A |
N/A |
.50 |
1.375 |
5/16 x 5/32 |
.53 |
250TC |
7.25 |
8.50 |
9.00 |
N/A |
N/A |
.50 |
1.625 |
3/8 x 3/16 |
.53 |
**keyway width by depth
|